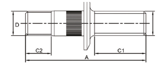
DB-4105 20 R
Model Grubu NKR55
Açıklama ISUZU NKR LOW ARKA

DB-4105 20 R DB-4105 20 R

Diğer Ürünlerimiz

  Drl Bijon Kalitesini Keşfedin